M.i.. 1 Опубліковано 15 грудня, 2014 Поділитися Опубліковано 15 грудня, 2014 (змінено) Сергей если нет ограничений скорости на участке например, скажем у вас разрешенная скорость 25, а вам надо пробу сделать пусть с тех самых 40 км/ч тогда конечно можно сделать и с 25 до остановки а на следующем перегоне попробовать с 60. И не всегда это скорость 40, она устанавливаться начальником дороги, а оно уже зависит от профиля пути, скорости на нем обращения и местных условий.Проверки автотормозов производят в реале всегда ПТ, а потом и ЭПТ. Змінено 15 грудня, 2014 користувачем moskal.il Цитата Посилання на коментар https://forum.zdsimulator.com/topic/1817-v-pomosch-novichku/page/5/#findComment-48587 Поділитись на інші сайти Поділитися
Charter 0 Опубліковано 15 грудня, 2014 Поділитися Опубліковано 15 грудня, 2014 Еще вопрос: зачем нужны нейтральны вставки? Цитата Посилання на коментар https://forum.zdsimulator.com/topic/1817-v-pomosch-novichku/page/5/#findComment-48591 Поділитись на інші сайти Поділитися
redline5501 0 Опубліковано 15 грудня, 2014 Поділитися Опубліковано 15 грудня, 2014 (змінено) Отделяют друг от друга участки запитанные от разных фаз. Или когда не могут нормально КС проложить. Змінено 15 грудня, 2014 користувачем redline5501 Цитата Посилання на коментар https://forum.zdsimulator.com/topic/1817-v-pomosch-novichku/page/5/#findComment-48592 Поділитись на інші сайти Поділитися
sergey201165 0 Опубліковано 15 грудня, 2014 Поділитися Опубліковано 15 грудня, 2014 Не от разных фаз, а от разных тяговых подстанций Цитата Посилання на коментар https://forum.zdsimulator.com/topic/1817-v-pomosch-novichku/page/5/#findComment-48602 Поділитись на інші сайти Поділитися
redline5501 0 Опубліковано 15 грудня, 2014 Поділитися Опубліковано 15 грудня, 2014 Я сказал как в книге написано. Цитата Посилання на коментар https://forum.zdsimulator.com/topic/1817-v-pomosch-novichku/page/5/#findComment-48603 Поділитись на інші сайти Поділитися
M.i.. 1 Опубліковано 15 грудня, 2014 Поділитися Опубліковано 15 грудня, 2014 а от разных тяговых подстанций А тяговые подстанции под разными фазами. Разве не так??? Цитата Посилання на коментар https://forum.zdsimulator.com/topic/1817-v-pomosch-novichku/page/5/#findComment-48604 Поділитись на інші сайти Поділитися
вик 2 Опубліковано 16 грудня, 2014 Поділитися Опубліковано 16 грудня, 2014 (змінено) На дорогах переменного тока нейтральная вставка отделяет друг от друга участки железной дороги запитанные от разных фаз. Как правило нейтральные вставки в этом случае распологаются недалеко от тяговых подстанций. Чередование фаз у тяговых подстанций необходимо для того, что бы равномерно распределить нагрузку на 3-х фазную систему электроснабжения и не вызвать таким образом перекос фаз------процитировал.... Пример: если у себя в доме (лестничная площадка) открыть РЩ(распределительный щит), то можно наблюдать (в старых постройках) 4х проводной шлейф (фазыА,В,С и N-нетраль), в новых 5 пр.(A, В,С,N и PEN), (у нас в доме система TN-C-S.). Так вот , допустим на площадке по 3 квартиры, то можно видеть, что каждая квартира подключена к определённой фазе по возможности равномерно, равномерное распределение нагрузки исключает перегрузку проводов, обмоток трансформатора и даёт возможность уменьшить ток в нетральном (ноль) проводе, (ваше допустим к ф.А, соед к ф.В, и третий сосед к ф. С и и так по этажам равномерно с определённым чередованием) и здесь учитывается не арифметическая, а геометрическая сумма токов (хотя на практике электрики.... зачастую считают арифметическую сумму токов, и переделав схему избавляют в первую очередь себя от проблем. тоесть разведя схему так сказать не правильно (зачестую в ВРУ- водное распределительное устройство), на один подъезд уводят ф. А, в другой ф.В и так далее , тем самым избовляют ТОЛЬКО себя от: при отгорании нетрали в РЩ потребитель не постродает(просто вырожаясь не словит 380 вольт)), но все остальные прелести ощутит в полной мере. Таг же и на жд распределяют нагрузку добиваясь качества, сохранность и бесперебойную работу оборудования и .............. Змінено 16 грудня, 2014 користувачем вик Цитата Посилання на коментар https://forum.zdsimulator.com/topic/1817-v-pomosch-novichku/page/5/#findComment-48620 Поділитись на інші сайти Поділитися
Charter 0 Опубліковано 16 грудня, 2014 Поділитися Опубліковано 16 грудня, 2014 Автотормоза и ЭПТ - когда какими пользоваться? И, кстати, почему назвали "автотормоза"? Поезд не автомобиль вроде .. Цитата Посилання на коментар https://forum.zdsimulator.com/topic/1817-v-pomosch-novichku/page/5/#findComment-48632 Поділитись на інші сайти Поділитися
Alex_The_Scorpio 12 Опубліковано 16 грудня, 2014 Поділитися Опубліковано 16 грудня, 2014 "Авто-" означает автоматические, так как срабатывают они при понижении давления в тормозной магистрали - хоть управляемом, от крана машиниста, хоть и при неуправляемом из-за разрыва тормозной магистрали (при разрыве поезда) либо существенной утечки воздуха из неё. Грузовые поезда используют только автотормоза, ЭПТ там физически не было и нет (в СССР проводили эксперимент, но он не был удачен).Пассажирские поезда согласно ПТЭ должны быть водимы на ЭПТ, за исключением:а) неисправность ЭПТ (отсутствие тока в его цепи или КЗ...)б) в случаях, предусмотренных инструкцией по тормозам. Как правило, это если в составе есть вагоны РИЦ, у коих нет ЭПТ. В то же время, в пассажирских поездах есть чёткий порядок опробования тормозов: на станции сначала проверяется ЭПТ, затем автотормоза (они же "пневматика", ПТ), а в пути следования наоборот. Цитата Посилання на коментар https://forum.zdsimulator.com/topic/1817-v-pomosch-novichku/page/5/#findComment-48633 Поділитись на інші сайти Поділитися
Charter 0 Опубліковано 16 грудня, 2014 Поділитися Опубліковано 16 грудня, 2014 ЭПТ включаются тумблером? Цитата Посилання на коментар https://forum.zdsimulator.com/topic/1817-v-pomosch-novichku/page/5/#findComment-48634 Поділитись на інші сайти Поділитися
sib2217 42 Опубліковано 16 грудня, 2014 Поділитися Опубліковано 16 грудня, 2014 да. Цитата Посилання на коментар https://forum.zdsimulator.com/topic/1817-v-pomosch-novichku/page/5/#findComment-48635 Поділитись на інші сайти Поділитися
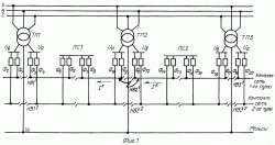
sergey201165 0 Опубліковано 16 грудня, 2014 Поділитися Опубліковано 16 грудня, 2014 Или пакетником, все зависит от исполнения вик Практически все, что вы написали, особенно пример про подъезд, кроме последней картинки, к питанию тяговой сети переменного тока не имеет ни какого отношения. А теперь про картинку, с верху изображен выход трех фаз из трансформатора, вторичная обмотка которого собрана по схеме "треугольник" и нулевых точек не имеет по определению, далее одна фаза посажена на рельс, а две другие на контактную сеть и разъеденные между собой нейтральной вставкой. Но дальше, что не показано на рисунке, между подстанциями тоже находятся нейтральные вставки Цитата Посилання на коментар https://forum.zdsimulator.com/topic/1817-v-pomosch-novichku/page/5/#findComment-48636 Поділитись на інші сайти Поділитися
вик 2 Опубліковано 17 грудня, 2014 Поділитися Опубліковано 17 грудня, 2014 sergey201165 Да..., пакетник.. уже практически везде переделали схему -этого чудо иасполнение....-) На первой картинке хотел показать сам принцип подключение приемника электроэнергии( о чём приводил пример с подъездом). Пример про подъезд взял для примерного понимания как это приблизительно выглядет, ну и естественно не стал углубляться в Uл=Uф,Uл=корень3Uф- (если кто интерес проявит, то в теме электротехника можно будет поговорить об этом). Ну и на посошок..,всегда приятно пообщаться с людьми на любимые, интересующие темы . Цитата Посилання на коментар https://forum.zdsimulator.com/topic/1817-v-pomosch-novichku/page/5/#findComment-48644 Поділитись на інші сайти Поділитися
sergey201165 0 Опубліковано 17 грудня, 2014 Поділитися Опубліковано 17 грудня, 2014 Я совсем не имел в виду деповские переделки, а именно используемую схему ЭПТ. Так на пассажирских поездах используется двухпроводная схема, при которой блок управления берет питание с кабины управления через обычный тумблер, но при желании можно воткнуть пакетник. И совсем другая песня с моторвагонным составом, где запитка идет с задней головы и без пакетников в соответствующем положении на задней голове и на передней питания ЭПТ не получим. Цитата Посилання на коментар https://forum.zdsimulator.com/topic/1817-v-pomosch-novichku/page/5/#findComment-48649 Поділитись на інші сайти Поділитися
van_trancer 0 Опубліковано 17 грудня, 2014 Поділитися Опубліковано 17 грудня, 2014 Есть еще зимняя проба тормозов, которая должна проводиться каждый час, не более того, можно хоть каждые 15 минут, главное попробовать ПТ. С 1 ноября по 1 апреля вводится ежегодно. Кстати инструкция ЦТ-ЦВ-ЦЛ-ВНИИЖТ или как там более точно отменяется и с 1-го января вводится новая инструкция по тормозам Цитата Посилання на коментар https://forum.zdsimulator.com/topic/1817-v-pomosch-novichku/page/5/#findComment-48657 Поділитись на інші сайти Поділитися
TomCat 0 Опубліковано 18 грудня, 2014 Поділитися Опубліковано 18 грудня, 2014 ,,,Но дальше, что не показано на рисунке, между подстанциями тоже находятся нейтральные вставки На рисунке показано очень даже хорошо - между подстанциями, на одинаковых фазах, Посты Секционирования, а нейтральные вставки - около подстанций, между разными фазами. Цитата Посилання на коментар https://forum.zdsimulator.com/topic/1817-v-pomosch-novichku/page/5/#findComment-48673 Поділитись на інші сайти Поділитися
Stef 0 Опубліковано 25 січня, 2015 Поділитися Опубліковано 25 січня, 2015 А стрелки переводить на станциях можно? Цитата Посилання на коментар https://forum.zdsimulator.com/topic/1817-v-pomosch-novichku/page/5/#findComment-50720 Поділитись на інші сайти Поділитися
мег 5 Опубліковано 25 січня, 2015 Поділитися Опубліковано 25 січня, 2015 Можно только при езде по сценарию, да и то если это предусмотрено по сюжету. Самостоятельно переводить стрелки и готовить самому себе маршрут нельзя. Цитата Посилання на коментар https://forum.zdsimulator.com/topic/1817-v-pomosch-novichku/page/5/#findComment-50723 Поділитись на інші сайти Поділитися
Михаил Перфомер 0 Опубліковано 25 січня, 2015 Поділитися Опубліковано 25 січня, 2015 Переводить стрелки самому можно на новых маршрутах, при езде туда, используя нештатку #1. Цитата Посилання на коментар https://forum.zdsimulator.com/topic/1817-v-pomosch-novichku/page/5/#findComment-50724 Поділитись на інші сайти Поділитися
tysha0505 3 Опубліковано 25 січня, 2015 Поділитися Опубліковано 25 січня, 2015 Новых - не новых, но на старом Москва - Калуга у меня переводились Цитата Посилання на коментар https://forum.zdsimulator.com/topic/1817-v-pomosch-novichku/page/5/#findComment-50730 Поділитись на інші сайти Поділитися
MAGNETIZZZM 143 Опубліковано 25 січня, 2015 Поділитися Опубліковано 25 січня, 2015 Глянул видео на офф канале по маршруту Москва-Вязьма. Там по приезду демонстрация манёвров с заездом в депо. Заехал за маневровый, поменял кабину. Я так понимаю в этот момент нужно перевести стрелку. Как это сделать? Цитата Посилання на коментар https://forum.zdsimulator.com/topic/1817-v-pomosch-novichku/page/5/#findComment-50731 Поділитись на інші сайти Поділитися
sib2217 42 Опубліковано 25 січня, 2015 Поділитися Опубліковано 25 січня, 2015 Только в сценарии Цитата Посилання на коментар https://forum.zdsimulator.com/topic/1817-v-pomosch-novichku/page/5/#findComment-50739 Поділитись на інші сайти Поділитися
MAGNETIZZZM 143 Опубліковано 25 січня, 2015 Поділитися Опубліковано 25 січня, 2015 А вот как это прописать в сценарии? Цитата Посилання на коментар https://forum.zdsimulator.com/topic/1817-v-pomosch-novichku/page/5/#findComment-50741 Поділитись на інші сайти Поділитися
Sergey_Avdonin 2 Опубліковано 26 січня, 2015 Поділитися Опубліковано 26 січня, 2015 Можно. Я же рассказывал как. В теме про 5,0,0 вроде на 6й странице. Цитата Посилання на коментар https://forum.zdsimulator.com/topic/1817-v-pomosch-novichku/page/5/#findComment-50759 Поділитись на інші сайти Поділитися
sab158 0 Опубліковано 4 лютого, 2015 Поділитися Опубліковано 4 лютого, 2015 Подскажите как правильно вводить данные в КЛУБ У,у меня не выдает все данные по расстояниям до объектов итд Цитата Посилання на коментар https://forum.zdsimulator.com/topic/1817-v-pomosch-novichku/page/5/#findComment-51025 Поділитись на інші сайти Поділитися
Рекомендовані повідомлення
Приєднуйтесь до обговорення
Ви можете написати зараз та зареєструватися пізніше. Якщо у вас є обліковий запис, авторизуйтесь, щоб опублікувати від імені свого облікового запису.
Примітка: Ваш пост буде перевірено модератором, перш ніж стане видимим.